Доставка в любой город Казахстана
Смотрел
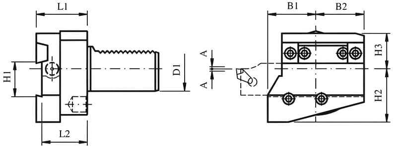
Держатель отрезных лезвий 26 мм, правый перевернутый, VDI40 купить в Астане Казахстан, цена на V40Q326H50