Доставка в любой город Казахстана
Смотрел
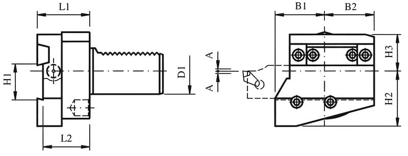
Держатель отрезных лезвий 32 мм, левый перевернутый, VDI50 купить в Астане Казахстан, цена на V50Q432H50